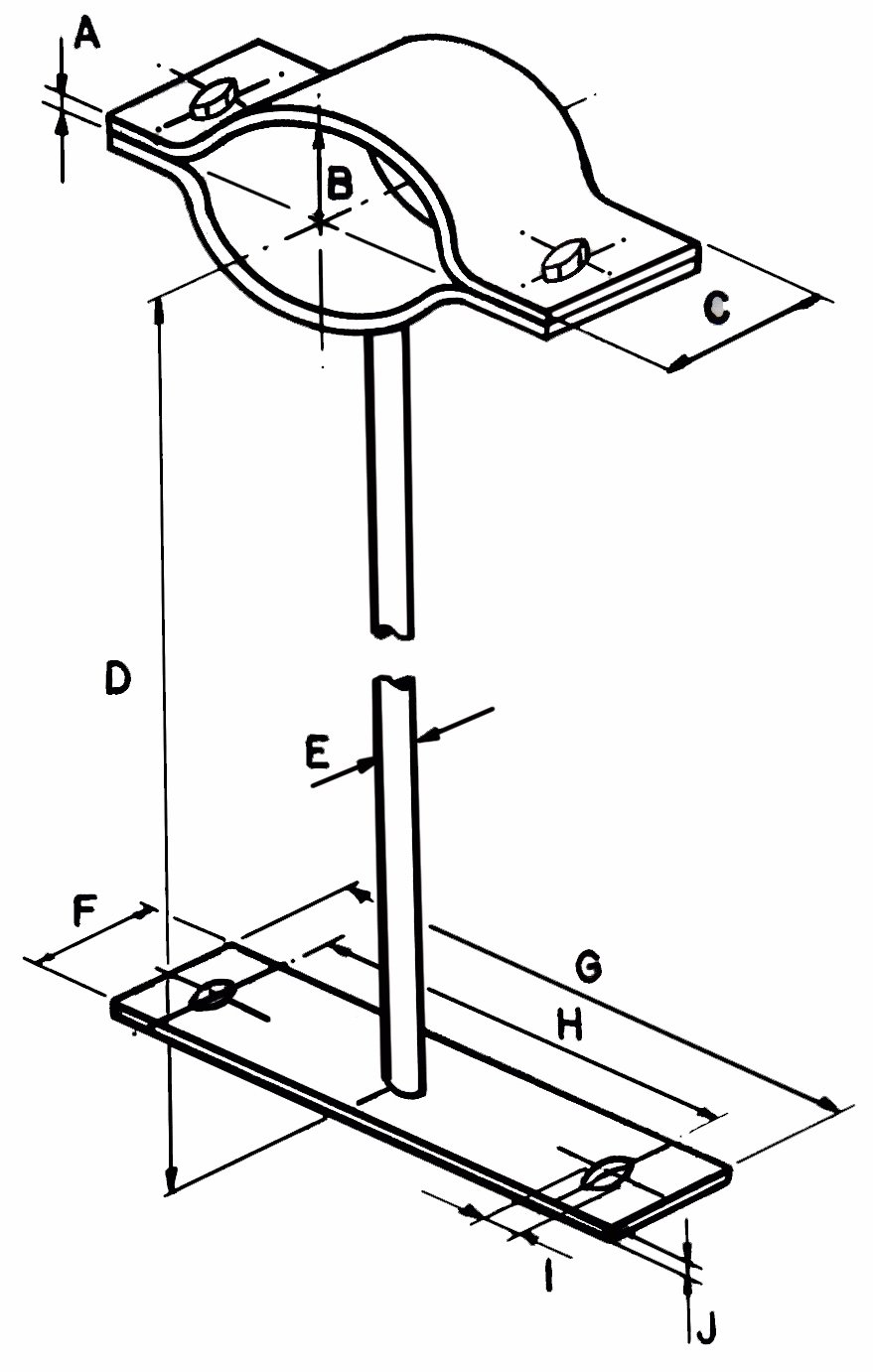
Abraçadeira para eletrodutos, mastros e tubos Ø 1.1/2” com altura H=200mm em Aço Galvanizado à Fogo.
Acessórios galvanizados a fogo
– Parafuso sextavado 5/16″ X 1″ UNC
– Porcas 5/16″ UNC
– Arruelas lisas 5/16”
Utilizado para segurar o eletrodutos em paredes, platibandas, etc. A base (chapa de encosto) deve ser aparafusado na parede para sua fixação.